.png)

.png)
.png)
.png)
.png)

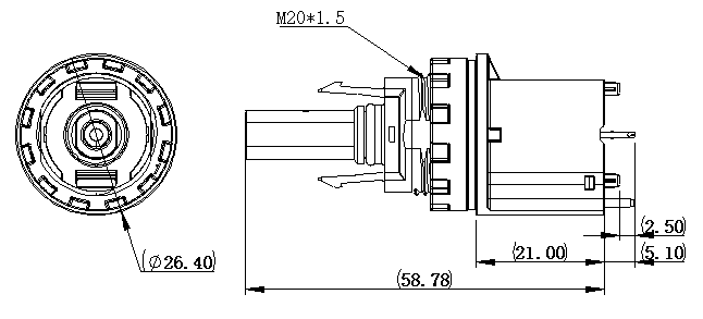
Handa HD brand Energy Storage Panel Mount On-Board Connector is the 2nd upgrade version of Handa HD ES Panel Mount Connectors ,updated the size from M12 to M20, the pins is all-in-one style without any breakpoint(Reduce the risk of burning caused by poor contact). Pins soldering directly on the PCB inside of the inverters, saving the inverter inner space without wiring inside.





